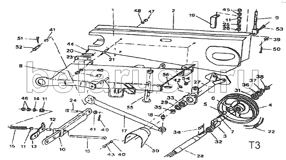
Каталог запасных частей к технике: Wirax Z069. Главная рама
8245-036-020-287
1
2
3
4
5
6
7
8
9
10
11
11
11
12
13
14
15
16
17
18
19
20
21
22
23
24
25
26
27
28
29
30
31
32
33
34
35
36
37
38
39
40
41
41
42
43
44
45
46
47
47
48
48
49
50
51
52
53
54
55
56
| Позиция на иллюстрации | Заводской номер детали | Название детали | |
|---|---|---|---|
| 8245-036-020-287 | 8245-036-020-287 | Предохранитель, комплект | |
| 1 | 8245-105-020-060 | Правый кожух | |
| 2 | 8245-105-020-072 | Левый кожух | |
| 3 | 8245-105-020-172 | Заказать Заказать | Кованый валик |
| 4 | 8245-105-020-185 | Заказать | Ремённый шкив |
| 5 | 8245-105-020-198 | Болт бруса | |
| 6 | 8245-105-020-205 | Втулка | |
| 7 | 8245-105-020-218 | Пружина валика | |
| 8 | 8245-105-020-233 | Заказать | Центральный брус, сварной |
| 9 | 8245-036-020-246 | Пруток натяжника, компл., сварной | |
| 10 | 8245-036-020-290 | Заказать | Замок сварной |
| 11 | 8245-036-020-307 | Седло пружины | |
| 12 | 8245-036-020-310 | Дистанционная втулка | |
| 13 | 8245-036-020-322 | Заказать | Защёлка |
| 14 | 8245-036-020-335 | Подкладка | |
| 15 | 8245-036-020-348 | Винт М14х260 | |
| 16 | 8245-036-020-350 | Пружина предохранителя | |
| 17 | 8245-036-020-363 | Транспортная балка, компл. | |
| 18 | 8245-036-020-376 | Втулка | |
| 19 | 8245-036-020-409 | Угольник | |
| 20 | 8245-036-020-411 | Двойная отгибающаяся подкладка | |
| 21 | 8245-036-020-017 | Двусторонний винт | |
| 22 | PN-86/M-85200/06 | Комплект клиновых ремней | |
| 23 | 8245-036-020-465 | Накладка | |
| 24 | PN-90/M-83002 | Штырь | |
| 25 | 8245-036-020-500 | Заказать | Пружина натяжника |
| 26 | 8245-036-020-513 | Подкладка | |
| 27 | 8245-036-020-684 | Заказать | Труба приводной головки, компл. |
| 28 | 8245-036-020-602 | Заказать Заказать | Вал головки |
| 29 | PN-72/M-86964 | Уплотняющее кольцо | |
| 30 | 8245-036-020-717 | Кожух, комплект | |
| 31 | PN-85/M-86100 | Шарикоподшипник | |
| 32 | PN-85/M-86100 | Шарикоподшипник | |
| 33 | PN-85/M-86100 | Шарикоподшипник | |
| 34 | PN-70/M-85005 | Заказать | Призматический шпунт |
| 35 | PN-81/M-85111 | Стопорное пружинящее кольцо | |
| 36 | PN-81/M-85111 | Стопорное пружинящее кольцо | |
| 37 | PN-81/M-85111 | Стопорное пружинящее кольцо | |
| 38 | PN-81/M-85111 | Стопорное пружинящее кольцо | |
| 39 | PN-78/M-82006 | Шайба | |
| 40 | PN-78/M-82005 | Круглая шайба | |
| 41 | PN-78/M-82005 | Шайба | |
| 42 | PN-77/M-82008 | Пружинная шайба | |
| 43 | PN-85/M-82105 | Винт | |
| 44 | PN-85/M-82105 | Винт | |
| 45 | PN-86/M-82144 | Гайка | |
| 46 | PN-86/M-82144 | Гайка | |
| 47 | PN-86/M-82144 | Гайка | |
| 48 | PN-77/M-82008 | Пружинная шайба | |
| 49 | PN-89/M-85025 | Пружинный штифт | |
| 50 | PN-76/M-82001 | Чека | |
| 51 | PN-76/M-82001 | Чека | |
| 52 | PN-90/M-83002 | Штырь | |
| 53 | PN-90/M-83002 | Штырь | |
| 54 | PN-86/M-82144 | Гайка | |
| 55 | 8245-036-020-760 | Подпорка | |
| 56 | PN-ISO-7072 | Чека |
Содержащиеся в справочниках-каталогах запасные части и детали не предлагаются к продаже, а носят исключительно информационный характер