Каталог запасных частей к технике: ВгТЗ ДТ-75МВ. Головка цилиндров
| Позиция на иллюстрации | Заводской номер детали | Название детали | |
|---|---|---|---|
| 43-06С2 | 43-06С2 | Головка в сборе | |
| 41-06015 | 41-06015 | Труба водяная а сборе | |
| 41-4606 | 41-4606 | Передаточный механизм в сборе | |
| 01-06С4 | 01-06С4 | Заказать | Коромысло в сборе |
| 43-06С7 | 43-06С7 | Колпак в сборе | |
| 43-06С13-1 | 43-06С13-1 | Коллектор впускной в сборе | |
| 43-06С9 | 43-06С9 | Головка с клапанами в сборе | |
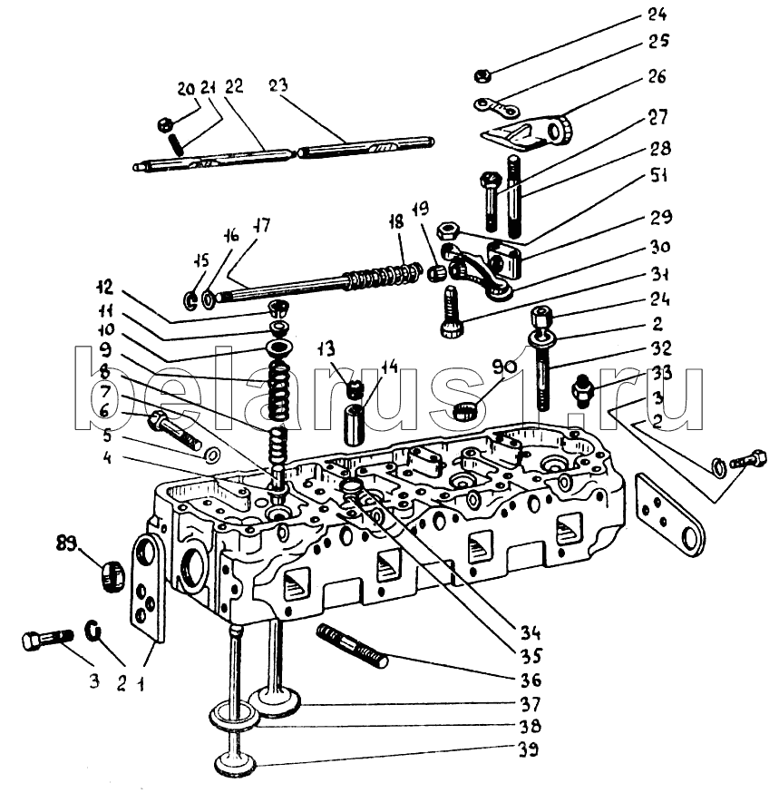
| 1 | 6А1-0643 | Кронштейн грузовой задний | |
| 2 | 12.65Г.05 | Шайба ГОСТ 6402-70 | |
| 3 | 01-0699 | Болт | |
| 4 | 6Т2-0641А | Шайба пружин клапана | |
| 5 | 10х2.01.011 | Шайба ГОСТ 10450-78 | |
| 6 | М10-6gх35.88.35.013 | Болт ГОСТ 7796-70 | |
| 7 | 6Т2-0603А-Р | Втулка клапана | |
| 8 | 236-1007021 | Пружина клапана внутренняя | |
| 9 | 236-1007020 | Пружина клапана наружная | |
| 10 | 01-0640А | Тарелка пружин клапана | |
| 11 | 01-0677 | Втулка | |
| 12 | 6Т2-0671Б | Сухарь клапана | |
| 13 | 4А1-0626 | Гайка стакана форсунки | |
| 14 | 6Т2-0628-1 | Стакан форсунки | |
| 15 | Б22 | Кольцо упорное ГОСТ 1392-68 | |
| 16 | 612-0505 | Шайба | |
| 17 | 41-0644 | Ось коромысел | |
| 18 | 6Т2-0645 | Пружина распорная | |
| 19 | 01-0668 | Втулка коромысла клапана | |
| 20 | М8.6Н.8.35.013 | Гайка ГОСТ 2524-70 | |
| 21 | 01-0620 | Винт декомпрессора | |
| 22 | 43-0611-1 | Валик передний | |
| 23 | 43-0610 | Валик декомпрессора задний | |
| 24 | М12.6Н.6.10.013 | Гайка ГОСТ 5927-70 | |
| 25 | 01-0675 | Шайба замковая | |
| 26 | 01-0687 | Стойка валика | |
| 27 | М12-6х65.58.05 | Болт ГОСТ 7795-70 | |
| 28 | М12х80.88.05 | Шпилька СТП 208.479-75 | |
| 29 | 04-0686 | Стойка оси коромысел | |
| 30 | 01-0608А | Коромысло клапана | |
| 31 | 01-0689 | Винт коромысла регулировочный | |
| 32 | 01-0688 | Шпилька | |
| 33 | 6х33 | Ниппель СТП 208.509-74 | |
| 34 | 236-1003114-В | Заказать | Кольцо стакана форсунки уплотнительное |
| 35 | 01-0622 | Шайба М3 ГОСТ 859-78 | |
| 36 | М10х40.88.013 | Шпилька СТП 208.478-75 | |
| 37 | А05.12.012 | Клапан впускной | |
| 38 | 236-1003110 | Седло выпускного клапана | |
| 39 | А05.12.013 | Клапан выпускной | |
| 40 | М10.6Н.6.10.013 | Гайка ГОСТ 5927-70 | |
| 41 | 10.65Г.05 | Шайба ГОСТ 6402-70 | |
| 42 | М10х28.88.013 | Шпилька СТП 208.478-75 | |
| 43 | 01-0674-2 | Кронштейн тяги | |
| 44 | 41-06С19А | Рукоятка декомпрессора | |
| 45 | 12х2.01.011 | Шайба ГОСТ 11371-78 | |
| 46 | 8х37 | Шайба ГОСТ 11371-78 | |
| 47 | 3.2х18-005 | Шплинт ГОСТ 397-79 | |
| 48 | 01-0679-3 | Тяга | |
| 49 | 01-0698А | Рычаг декомпрессора | |
| 50 | 41-0508-1А | Шайба стопорная | |
| 51 | М12х1кл2а-055 | Гайка Н483-66 | |
| 52 | 14-2619 | Заглушка | |
| 53 | К77.66.410-1 | Пружина | |
| 54 | БV8ммР | Шарик ГОСТ 3722-60 | |
| 55 | 8.65Г.05 | Шайба ГОСТ 6402-70 | |
| 56 | 01-0615 | Корпус декомпрессора | |
| 57 | М8х20.56 | Шпилька ГОСТ 22034-76 | |
| 58 | 01-0612 | Ось рукоятки | |
| 59 | 01-06С20 | Корпус декомпрессора в сборе | |
| 60 | 1-20х40-1 | Манжета ГОСТ 8752-79 | |
| 61 | 01-0616 | Прокладка | |
| 62 | 01-0624 | Кольцо стопорное | |
| 63 | 01-0684 | Прокладка | |
| 64 | 01-0630 | Гайка колпака | |
| 65 | 8.01 | Шайба | |
| 66 | 41-06316 | Корпус сапуна | |
| 67 | 41-0632 | Диафрагма | |
| 68 | 41-0634 | Набивка сапуна | |
| 69 | СМД1-0633 | Перегородка | |
| 70 | 01-0635 | Кольцо стопорное | |
| 71 | 41-0667 | Прокладка сапуна | |
| 72 | 41-06С11 | Сапун в сборе | |
| 73 | 41-0664А | Колпак | |
| 74 | 43-0627 | Прокладка колпака | |
| 75 | 43-0601-1Б | Головка цилиндров | |
| 76 | 43-06С8 | Прокладка головки | |
| 77 | 6А1-0657 | Прокладка водяной трубы | |
| 78 | 01-0696 | Пробка | |
| 79 | М8-6gх25.88.35.013 | Болт ГОСТ 7796-70 | |
| 80 | 8.01.011 | Шайба ГОСТ 11371-78 | |
| 81 | 43-0661-1А | Коллектор впускной | |
| 82 | М14х40.56 | Шпилька ГОСТ 22034-76 | |
| 83 | 04-0662-1 | Прокладка всасывающего коллектора | |
| 83 | 14.65Г.05 | Шайба ГОСТ 6402-70 | |
| 84 | М14.6Н.8.35.013 | Гайка ГОСТ 2524-70 | |
| 85 | М12х28.88.05 | Шпилька СТП 208.478-75 | |
| 87 | 41-0682 | Труба водяная | |
| 89 | 01-0691 | Заглушка малая | |
| 89 | 3.2х32-005 | Шплинт ГОСТ 397-79 | |
| 90 | 01-0693-1 | Заглушка большая |
Содержащиеся в справочниках-каталогах запасные части и детали не предлагаются к продаже, а носят исключительно информационный характер