Ртищево
Эль-Монте ваш город?
Да
Выбрать другой город
Написать в
WhatsApp
Написать в
Telegram
Каталог

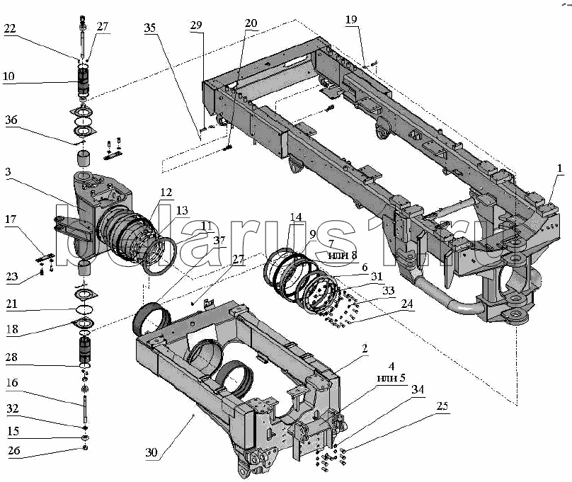
Каталог запасных частей к технике: ПТЗ К-744Р2. Рама Э744Р2-2800000-05

zoom-in zoom-out enlarge shrink circle-right circle-left file-text2 info cart
1
2
3
4
5
6
7
8
9
10
11
12
13
14
15
16
17
18
19
20
21
22
23
24
25
26
27
27
28
29
30
31
32
33
34
35
36
37
Позиция на иллюстрации Заводской номер детали Название детали
1 Э744Р2-2801000-5 Полурама подмоторная
2 744Р1-2811000 Полурама грузовая
3 744Р1-2801020 Труба шарнира
4 744Р1-2800060 Основание для ВОМа
5 744Р1-2800060-01 Основание
6 2256010-2800017 Крышка
7 2765020-2800016 Обойма манжеты
8 744Р1-2800040 Обойма манжеты
9 2765020-2800040 Манжета
10 2765020-2800019 Заказать Ось
11 2256010-2800013 Кольцо
12 2256010-2800015 Прокладка
13 2256010-2800015-01 Прокладка
14 2256010-2800021 Пружина
15 2765020-2800021 Втулка
16 2765020-2800022 Шпилька
17 700А.2800021 Клин установочный
18 700А.2800033 Заказать Шайба
19 700А.2800034-1 Пружина
20 700А.2800035 Защелка
21 700.2800016 Лента уплотнительная
22 М10х20 Болт
23 3М16х40 Болт
24 М16х1,5х50 Болт
25 М20х1,5х50 Болт
26 М24 Гайка
27 2.3.45.Ц6 Масленка
28 090-100-58-1-3 Заказать Кольцо
29 6-16В12х60 Ось
30 КГ1/8 Пробка
31 16.01.019 Шайба
32 24.01.019 Шайба
33 16.65Г.05 Шайба
34 20.65Г.05 Шайба
35 3,2х20.016 Шплинт
36 КО1,6 Проволока
37 744Р1-2811044 Втулка
Содержащиеся в справочниках-каталогах запасные части и детали не предлагаются к продаже, а носят исключительно информационный характер