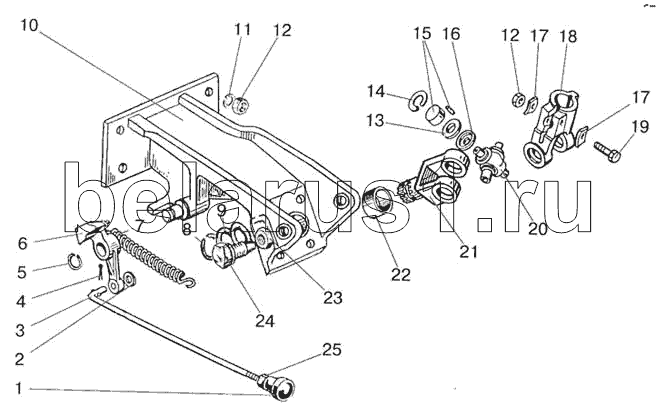
Каталог запасных частей к технике: МТЗ-922. Колонка рулевая
1
2
3
4
5
6
7
8
9
10
11
12
12
13
14
15
16
17
17
18
19
20
21
22
23
24
25
| Позиция на иллюстрации | Заводской номер детали | Название детали | |
|---|---|---|---|
| 1 | 70-3709012-А | Ручка переключателя | |
| 2 | ШЧ6 | Шайба | |
| 3 | 822-3401001 | Тяга | |
| 4 | 1,6х12 | Шплинт | |
| 5 | Б18 | Кольцо | |
| 6 | 85-3401014-01 | Фиксатор | |
| 7 | 50-1310158-Б | Пружина | |
| 8 | 2620 | Кольцо | |
| 9 | 80-3401019 | Шайба | |
| 10 | 822-3401120 | Кронштейн | |
| 11 | ШП10 | Шайба | |
| 12 | М10 | Гайка | |
| 13 | 50-3401064 | Сальник | |
| 14 | Б19 | Кольцо | |
| 15 | 904700УС17 | Подшипник | |
| 16 | 50-3401063 | Обойма | |
| 17 | 80-3401013 | Шайба | |
| 18 | 50-3401061-А | Вилка | |
| 19 | М10х45 | Болт | |
| 20 | 50-3401062 | Заказать Заказать Заказать | Крестовина |
| 21 | 85-3401156-Б | Вилка (ОSРВ-100) | |
| 22 | 80-3401016 | Втулка | |
| 23 | М20х1,5 | Гайка | |
| 24 | 80-3401089 | Винт | |
| 25 | М6 | Гайка |
Содержащиеся в справочниках-каталогах запасные части и детали не предлагаются к продаже, а носят исключительно информационный характер