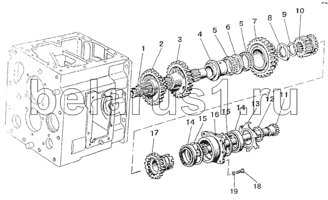
Каталог запасных частей к технике: МТЗ-822. Вал промежуточный
1
2
3
4
5
5
6
7
8
9
10
11
12
13
14
14
15
15
16
17
17
18
19
| Позиция на иллюстрации | Заводской номер детали | Название детали | |
|---|---|---|---|
| 1 | 70-1701182-Б-01 | Вал промежуточный | |
| 2 | 50-1701218 | Заказать Заказать | Шестерня V передачи и з. х. |
| 3 | 50-1701216 | Заказать Заказать | Шестерня IV передачи |
| 4 | 74-1701055-6 | Втулка | |
| 5 | 3КК72х82х45Е | Подшипник | |
| 6 | 74-1701057-Б | Заказать | Втулка |
| 7 | 74-1701056-Б | Шестерня | |
| 8 | 50-1701183 | Заказать | Шайба упорная |
| 9 | 50-1701187 | Заказать | Упор |
| 10 | 70-1701196 | Заказать Заказать | Шестерня 1-й ступени редуктора |
| 11 | 50-17021185 | Вал внутренний | |
| 12 | 2С75 | Кольцо | |
| 13 | 50-1701401 | Заказать | Крыльчатка |
| 14 | 12115ЕМУШ1 | Подшипник | |
| 15 | 2С115 | Кольцо | |
| 16 | 50-1701195 | Заказать Заказать Заказать | Стакан |
| 17 | 50-1701198-А | Шестерня II ступени редуктора | |
| 17 | 50-1701190-А | Шестерня II ступени редуктора в сборе | |
| 18 | ШП12 | Шайба | |
| 19 | М12х35 | Болт |
Содержащиеся в справочниках-каталогах запасные части и детали не предлагаются к продаже, а носят исключительно информационный характер