Ртищево
Эль-Монте ваш город?
Да
Выбрать другой город
Написать в
WhatsApp
Написать в
Telegram
Каталог

Каталог запасных частей к технике: МТЗ-822. Балласт

zoom-in zoom-out enlarge shrink circle-right circle-left file-text2 info cart
1
2
3
4
5
6
6
6
6
6
6
7
8
9
10
10
11
11
11
12
13
14
14
15
15
16
16
17
18
18
19
20
21
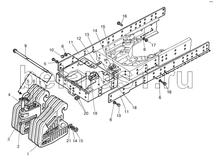
Позиция на иллюстрации Заводской номер детали Название детали
1 80-4235011-А Груз
2 1025-4235012 Заказать Болт
3 85-4235025-Б Проушина
4 70-4235030 Шкворень
5 М16х45 Болт
6 ШП16 Шайба
7 ШЧ16 Шайба
8 1521-4235011-А Заказать Груз
9 1025-4235015-02 Струна
10 М16х32 Болт
11 923-4235028 Полоса
11 822-4235028 Полоса
12 54-38.619 Кольцо стопорное
13 50-4605027 Заказать Штифт
14 ШП20 Шайба
15 М20 Гайка
16 М16х40 Болт
17 М16 Гайка
18 923-4235016 Кронштейн
18 822-4235016 Кронштейн
19 70-4605036 Заказать Болт
20 М18 Гайка
21 40-3502084 Шайба
Содержащиеся в справочниках-каталогах запасные части и детали не предлагаются к продаже, а носят исключительно информационный характер