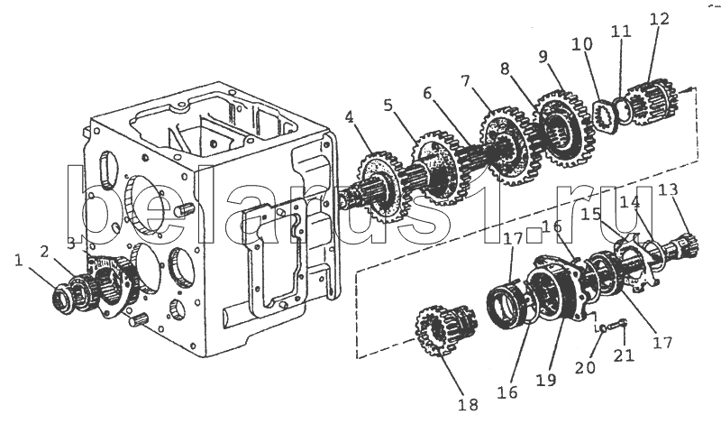
Каталог запасных частей к технике: МТЗ-80 (2002). 1701 Вал промежуточный
1
2
3
4
5
6
7
8
9
10
11
12
13
14
15
16
16
17
17
18
19
20
21
| Позиция на иллюстрации | Заводской номер детали | Название детали | |
|---|---|---|---|
| 50-1701190-А | 50-1701190-А | Шестерня II ступени редуктора в сборе | |
| 50-1701200 | 50-1701200 | Гнездо подшипника с подшипником в сборе | |
| Ф50-1701065 | Ф50-1701065 | Шестерня | |
| 1 | 50-1701181 | Заказать Заказать Заказать Заказать | Гайка вала |
| 2 | ГОСТ7242-81 | Подшипник 60210АУШ1 | |
| 3 | 50-1701184 | Заказать Заказать Заказать | Гнездо подшипника |
| 4 | 50-1701218 | Заказать Заказать | Шестерня V передачи и з. х. |
| 5 | 50-1701216 | Заказать Заказать | Шестерня IV передачи |
| 6 | 70-1701182-Б | Вал промежуточный | |
| 7 | 50-1701214 | Заказать Заказать | Шестерня III передачи |
| 8 | Подшипник КК 72x82x45 | Подшипник КК 72x82x45 | |
| 9 | Ф50-1701056-Б | Заказать | Шестерня промежуточная |
| 10 | 50-1701183 | Заказать | Шайба упорная |
| 11 | 50-1701187 | Заказать | Упор |
| 12 | 70-1701106 | Шестерня 1 ступени редуктора | |
| 13 | 50-1701185 | Заказать Заказать Заказать | Вал внутренний |
| 14 | ГОСТ13940-86 | Кольцо 2В50 | |
| 15 | 50-1701401 | Заказать | Крыльчатка |
| 16 | ГОСТ13941-86 | Кольцо В25 | |
| 17 | ГОСТ8328-75 | Подшипник 12115ВMУШ1 | |
| 18 | 50-1701198-А | Шестерня II ступени редуктора | |
| 19 | 50-1701195 | Заказать Заказать Заказать | Стакан |
| 20 | ОСТ37.001.115-75 | Шайба 8Т | |
| 21 | ГОСТ7796-70 | Болт М8-6gх20.88.35.019 |
Содержащиеся в справочниках-каталогах запасные части и детали не предлагаются к продаже, а носят исключительно информационный характер