Каталог запасных частей к технике: МТЗ-80.1. Сиденье оператора
1
1
2
3
4
5
6
7
8
8
9
10
11
12
12
13
14
15
16
17
18
19
20
21
22
23
24
25
26
27
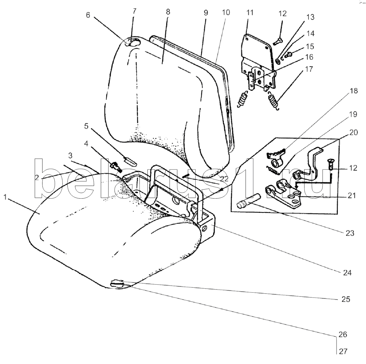
| Позиция на иллюстрации | Заводской номер детали | Название детали | |
|---|---|---|---|
| 80В-6804000 | 80В-6804000 | Сиденье | |
| 1 | 80В-6804500-А | Заказать | Чехол |
| 1 | 80В-6804500-А-01 | Чехол | |
| 2 | 80В-6804003 | Пруток | |
| 3 | 80В-6804009 | Пруток | |
| 4 | 80В-6800106 | Болт | |
| 5 | 80В-6804015 | Втулка | |
| 6 | 80В-6805001 | Заказать | Подушка |
| 7 | 80В-6805002 | Рамка | |
| 8 | 80В-6805500-А | Заказать | Чехол |
| 8 | 80В-6805500-А-01 | Чехол | |
| 9 | ППР26-04 | Профиль | |
| 10 | 80В-6805010 | Основание | |
| 11 | 80В-6804040 | Опора | |
| 12 | В.М8-6gх16.58.019 | Винт | |
| 13 | С6.01.019 | Шайба | |
| 14 | 6Т | Шайба | |
| 15 | М6-6gх14.88.35.019 | Болт ГОСТ 7798-70 | |
| 16 | 80В-6804001 | Зацеп | |
| 17 | 80В-6804013-Б | Пружина | |
| 18 | 80В-6804011 | Гребенка | |
| 19 | 50-1310158-Б | Пружина | |
| 20 | 80В-6804080 | Рычаг | |
| 21 | 80-6708011 | Петля | |
| 22 | 4х25.019 | Шплинт | |
| 23 | 70-6708189-01 | Ось | |
| 24 | 80В-6804020 | Панель | |
| 25 | 80В-6804007 | Заказать | Подушка |
| 26 | 80В-6804005 | Рамка | |
| 27 | ППР26-03 | Профиль |
Содержащиеся в справочниках-каталогах запасные части и детали не предлагаются к продаже, а носят исключительно информационный характер