Ртищево
Эль-Монте ваш город?
Да
Выбрать другой город
Написать в
WhatsApp
Написать в
Telegram
Каталог

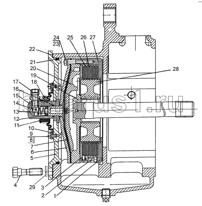
Каталог запасных частей к технике: МТЗ-570. Механизм блокировки дифференциала «мокрого» типа

zoom-in zoom-out enlarge shrink circle-right circle-left file-text2 info cart
1
2
3
3
3
3
3
3
3
4
5
6
7
8
9
10
11
12
13
14
15
16
17
18
19
20
21
22
23
24
25
26
27
28
29
Позиция на иллюстрации Заводской номер детали Название детали
80М-2409010 80М-2409010 Муфта блокировки
1221М-2409050 1221М-2409050 Переходник
1 80М-2409002 Палец
2 50-1702148-А Заказать Пружина фиксатора
3 80М-2409028-06 Диск отжимной
3 80М-2409028-05 Диск отжимной
3 80М-2409028-04 Диск отжимной
3 80М-2409028-03 Диск отжимной
3 80М-2409028-02 Диск отжимной
3 80М-2409028-01 Диск отжимной
3 80М-2409028 Диск отжимной
4 1221М-3502039 Болт
5 1221М-2409034 Крышка
6 70-2409030-Б Заказать Крышка диафрагмы
7 70-2409021 Заказать Диафрагма
8 B.M6-6gx10.58.019 Винт
9 Шайба
10 80М-2409037 Кольцо
11 80М-2409036 Заказать Уплотнитель
12 70-2409033-Б Заказать Кольцо
13 70-2409027-А Заказать Втулка
14 54-06-448-А Заказать Пружина
15 70-2409026-Б Заказать Переходник
16 020-025-30-1-4 Кольцо
17 70-2409037 Заказать Штуцер
18 «НОРМА»32-50/9C6W Хомут
19 70-2409020-02 Заказать Вал блокировочный
20 80М-2409018 Диск нажимной
21 205-215-58-2-2 Заказать Кольцо
22 1221М-2409051 Прокладка
23 M8-6gx40.88.35.019 Болт
24 Шайба
25 80М-2409016 Заказать Диск промежуточный
26 2522-1802035-А Диск ведущий
27 80М-2409015 Корпус муфты
28 80М-2409001 Ступица
29 14ОТ Шайба
Содержащиеся в справочниках-каталогах запасные части и детали не предлагаются к продаже, а носят исключительно информационный характер