Ртищево
Эль-Монте ваш город?
Да
Выбрать другой город
Написать в
WhatsApp
Написать в
Telegram
Каталог

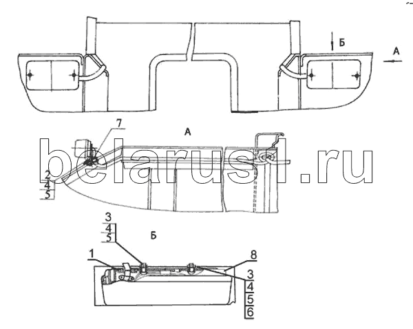
Каталог запасных частей к технике: МТЗ-510/512, 520/522. Установка фонарей передних

zoom-in zoom-out enlarge shrink circle-right circle-left file-text2 info cart
1
2
3
3
4
4
4
5
5
5
6
7
8
Позиция на иллюстрации Заводской номер детали Название детали
1 70-3712054 Кронштейн
2 M6-6gx14.88.35.019 Болт
3 B.M6-6gx16.58.019 Винт
4 M6-6H.6.019 Гайка
5 С6.01.019 Шайба
6 Шайба
7 70-3723042-01 Втулка
8 3712.45 Фонарь передний
Содержащиеся в справочниках-каталогах запасные части и детали не предлагаются к продаже, а носят исключительно информационный характер