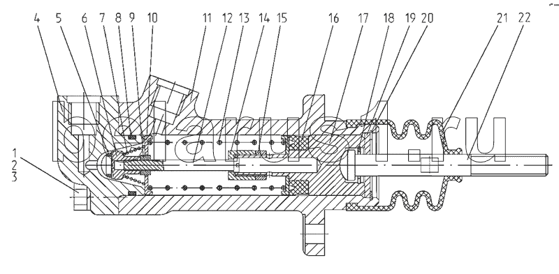
Каталог запасных частей к технике: МТЗ-2522. Цилиндр главный 2022-1602810
 
              
          2022-1602810        
              
          1        
              
          2        
              
          3        
              
          4        
              
          5        
              
          6        
              
          7        
              
          8        
              
          9        
              
          10        
              
          11        
              
          12        
              
          13        
              
          14        
              
          15        
              
          16        
              
          17        
              
          18        
              
          19        
              
          20        
              
          21        
              
          22        
          | Позиция на иллюстрации | Заводской номер детали | Название детали | |
|---|---|---|---|
| 2022-1602810 | 2022-1602810 | Заказать Заказать | Цилиндр главный | 
| 1 | M8-6gx25.88.35.019 | Болт | |
| 2 | M8-6gx40.88.35.019 | Болт | |
| 3 | 8Т | Шайба | |
| 4 | 2022-1602812 | Крышка | |
| 5 | 007-011-25-1-6 | Кольцо | |
| 6 | 2022-1602823 | Клапан | |
| 7 | 2022-1602838 | Пружина | |
| 8 | 024-028-25-2-4 | Кольцо | |
| 9 | М5-6Н.6.019 | Гайка ГОСТ 5915-70 | |
| 10 | 2022-1602824 | Шайба | |
| 11 | 2022-1602811 | Корпус | |
| 12 | 2022-1602822 | Толкатель | |
| 13 | 2022-1602841 | Пружина | |
| 14 | 2022-1602827 | Гайка накидная | |
| 15 | 2022-1602826 | Гайка | |
| 16 | N14-102 | Манжета | |
| 17 | 2022-1602821 | Поршень | |
| 18 | С16 | Шайба | |
| 19 | С16.01.019 | Шайба | |
| 20 | С30 | Кольцо | |
| 21 | 142-1602569 | Чехол | |
| 22 | 2022-1602813 | Толкатель | 
Содержащиеся в справочниках-каталогах запасные части и детали не предлагаются к продаже, а носят исключительно информационный характер