Ртищево
Эль-Монте ваш город?
Да
Выбрать другой город
Написать в
WhatsApp
Написать в
Telegram
Каталог

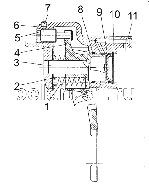
Каталог запасных частей к технике: МТЗ-2022. Привод блокировки

zoom-in zoom-out enlarge shrink circle-right circle-left file-text2 info cart
1822-2409010
1
2
3
4
5
6
7
8
9
10
11
Позиция на иллюстрации Заводской номер детали Название детали
1822-2409010 1822-2409010 Привод блокировки
1 101-4602031 Пружина
2 1822-2409003 Упор
3 1822-2409007 Поршень
4 1822-2409008 Вилка
5 1822-2409004 Винт
6 1822-2409001 Кронштейн
7 1520-2308011 Заказать Винт
8 040-045-30-2-2 Заказать Кольцо
9 1822-2409006 Заглушка
10 С45 Кольцо
11 7,144-60 Шарик
Содержащиеся в справочниках-каталогах запасные части и детали не предлагаются к продаже, а носят исключительно информационный характер