Каталог запасных частей к технике: МТЗ-1523. Регулятор давления
1
2
3
4
5
6
7
8
8
9
10
11
11
12
13
13
13
14
15
16
16
17
17
18
19
20
21
22
23
24
25
26
27
28
29
30
31
32
33
34
35
36
37
38
39
40
41
42
43
44
45
46
47
48
49
50
51
52
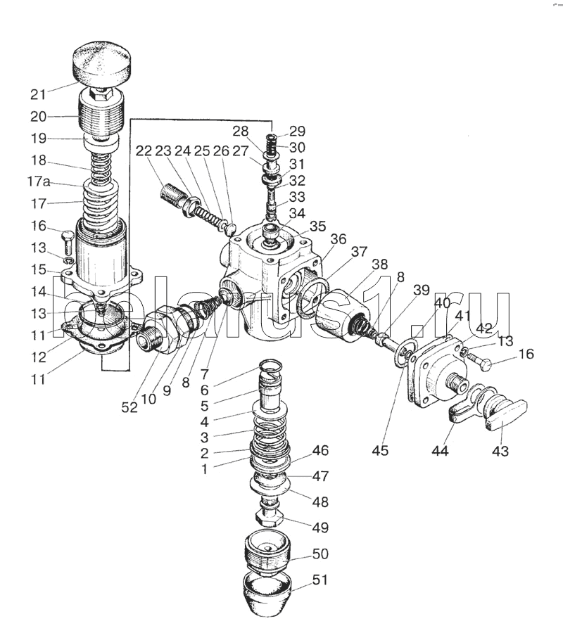
| Позиция на иллюстрации | Заводской номер детали | Название детали | |
|---|---|---|---|
| 80-3512141 | 80-3512141 | Диафрагма | |
| 80-3512020 | 80-3512020 | Клапан в сборе | |
| 80-3512010 | 80-3512010 | Заказать | Регулятор давления |
| 1 | 80-3512113 | Прокладка | |
| 2 | 036-040-25-1-4 | Кольцо | |
| 3 | 80-3512026 | Пружина | |
| 4 | 80-3512027 | Шайба | |
| 5 | 80-3512028 | Поршень | |
| 6 | 016-020-25-2-2 | Заказать | Кольцо |
| 7 | 80-3512110 | Клапан | |
| 8 | 80-3512131 | Пружина | |
| 9 | 024-028-25-2-2 | Кольцо | |
| 10 | 80-3512111 | Штуцер | |
| 11 | 80-3512032 | Шайба | |
| 12 | 80-3512050 | Диафрагма | |
| 13 | ШП6 | Шайба | |
| 14 | М6 | Гайка | |
| 15 | 80-3512106 | Корпус | |
| 16 | М6х20 | Винт | |
| 17 | 80-3512109 | Шайба | |
| 17 | 80-3512104 | Пружина | |
| 18 | 80-3512105 | Пружина | |
| 19 | 80-3512109-01 | Колпачок | |
| 20 | 80-3512107 | Крышка | |
| 21 | 80-3512108 | Колпак | |
| 22 | 80-3512134 | Винт | |
| 23 | 80-3512115 | Гайка | |
| 24 | 80-3512116 | Пружина | |
| 25 | 80-3512129 | Шайба | |
| 26 | 80-3512130 | Клапан | |
| 27 | 80-3512036 | Втулка | |
| 28 | 80-3512143 | Шайба | |
| 29 | 80-3512142 | Прокладка | |
| 30 | 80-3512034 | Пружина | |
| 31 | 80-3512037 | Клапан | |
| 32 | 007-010-19-1-3 | Кольцо | |
| 33 | 80-3512038 | Золотник | |
| 34 | 80-3512103 | Седло | |
| 35 | 80-3512133 | Прокладка | |
| 36 | 80-3512040 | Корпус | |
| 37 | 80-3512127 | Прокладка | |
| 38 | 80-3512119 | Фильтр | |
| 39 | 80-3512122 | Толкатель | |
| 40 | 024-030-36-2-3 | Кольцо | |
| 41 | 80-3512125 | Прокладка | |
| 42 | 80-3512123 | Крышка | |
| 43 | 105.069.05.005 | Гайка | |
| 44 | 105.069.05.006 | Лента | |
| 45 | 006-010-25-1-4 | Кольцо | |
| 46 | 80-3512022 | Седло | |
| 47 | 80-3512023 | Втулка | |
| 48 | 80-3512021 | Шайба | |
| 49 | 80-3512024 | Стержень | |
| 50 | 80-3512102 | Крышка | |
| 51 | 80-3512101 | Насадка | |
| 52 | 80-3512006 | Контргайка |
Содержащиеся в справочниках-каталогах запасные части и детали не предлагаются к продаже, а носят исключительно информационный характер