Ртищево
Эль-Монте ваш город?
Да
Выбрать другой город
Написать в
WhatsApp
Написать в
Telegram
Каталог

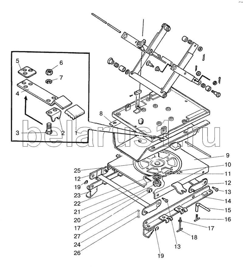
Каталог запасных частей к технике: МТЗ-1523. Механизм реверса

zoom-in zoom-out enlarge shrink circle-right circle-left file-text2 info cart
1
2
3
4
5
6
7
8
9
10
11
12
12
13
13
14
15
16
17
17
18
19
19
20
21
22
23
24
25
26
27
Позиция на иллюстрации Заводской номер детали Название детали
2522-680700-01 2522-680700-01 Механизм реверса в сборе
1 80В-6804066 Накладка
2 1522-6807101 Стопор
3 М6х14 Болт
4 80В-6807009Б Рычаг
5 80В-6804014 Накладка
6 М6 Гайка
7 ШП6 Шайба
8 1522-6807160 Панель
9 2522-6807120 Панель
10 15,081 Шарик
11 80-1716041 Пружина
12 2522-6807040 Шатун
13 2522-6807001 Ось
14 2522-6807010 Кронштейн левый
15 80В-6807040 Зажим
16 80В-6807050 Винт
17 М10 Гайка
18 1522-6807150 Винт
19 70-6801307 Шайба
20 А04.02.020 Заказать Заказать Гайка
21 ШЧ27 Шайба
22 5х45 Шплинт
23 2522-6807010-01 Кронштейн правый
24 ШП8 Шайба
25 80В-6807070 Диск
26 М8х20 Болт
27 ШП10 Шайба
Содержащиеся в справочниках-каталогах запасные части и детали не предлагаются к продаже, а носят исключительно информационный характер