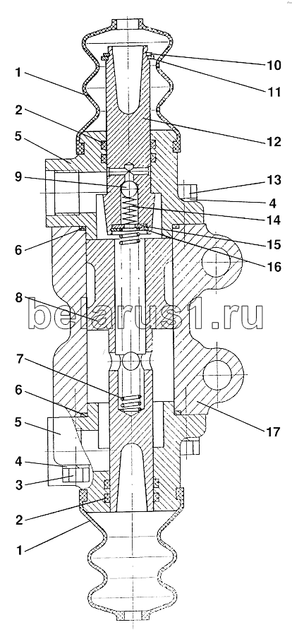
Каталог запасных частей к технике: МТЗ-1221 (2009). Гидроусилитель
1
1
2
2
3
4
4
5
5
6
6
7
8
9
10
11
12
13
14
15
16
17
| Позиция на иллюстрации | Заводской номер детали | Название детали | |
|---|---|---|---|
| 80-1602510 | 80-1602510 | Заказать | Гидроусилитель |
| 1 | 142-1602543 | Чехол защитный | |
| 2 | 020-025-30-1-4 | Кольцо | |
| 3 | М8х40 | Болт | |
| 4 | ШП8 | Шайба | |
| 5 | 80-1602512 | Крышка | |
| 6 | 040-044-25-1-2 | Кольцо | |
| 7 | 80В-1602046 | Пружина | |
| 8 | 80-1602513 | Поршень | |
| 9 | 6,350-100 | Шарик | |
| 10 | С18 | Кольцо | |
| 11 | 80-1602514 | Кольцо | |
| 12 | 80-1602521 | Толкатель | |
| 13 | М8х25 | Болт | |
| 14 | 80-3405044 | Пружина | |
| 15 | ШЧ5 | Шайба | |
| 16 | С16 | Шайба | |
| 17 | 80-1602511 | Корпус |
Содержащиеся в справочниках-каталогах запасные части и детали не предлагаются к продаже, а носят исключительно информационный характер