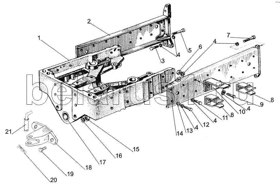
Каталог запасных частей к технике: МТЗ-1005. Полурама в сборе
50-2800010-Б6
1
1
2
3
4
4
4
4
4
5
6
7
8
8
9
10
11
12
13
14
15
16
17
18
18
19
20
21
| Позиция на иллюстрации | Заводской номер детали | Название детали | |
|---|---|---|---|
| 50-2800010-Б6 | 50-2800010-Б6 | Полурама в сборе | |
| 1 | 70-2801120-А1-01 | Брус передний (1, 15) | |
| 1 | 50-2801124-А2 | Брус передний | |
| 2 | 50-2801052-В2-01 | Лонжерон правый | |
| 3 | М16х60 | Болт | |
| 4 | ШП16 | Шайба | |
| 5 | 70-2800016-01 | Заказать | Болт |
| 6 | М16 | Гайка | |
| 7 | 70-2800016 | Заказать | Болт |
| 8 | 50-3913214 | Зажим | |
| 9 | М16х32 | Болт | |
| 10 | 80-3919106 | Заказать | Кронштейн |
| 11 | М16х32 | Болт | |
| 12 | М16х45 | Болт | |
| 13 | 50-2800011 | Заказать | Втулка |
| 14 | 50-2801053-В2-01 | Лонжерон левый | |
| 15 | М20 | Гайка | |
| 16 | ШП20 | Шайба | |
| 17 | 40-3001022 | Заказать Заказать Заказать Заказать | Втулка |
| 18 | 80-2806011 | Буксир передний | |
| 18 | 80-2806010 | Заказать | Буксир передний |
| 19 | 70-4605036 | Заказать | Болт |
| 20 | А61.07.001 | Заказать Заказать | Шплинт |
| 21 | 50-4605079-В | Шкворень |
Содержащиеся в справочниках-каталогах запасные части и детали не предлагаются к продаже, а носят исключительно информационный характер