Каталог запасных частей к технике: МТЗ 800/900. Баки топливные
              
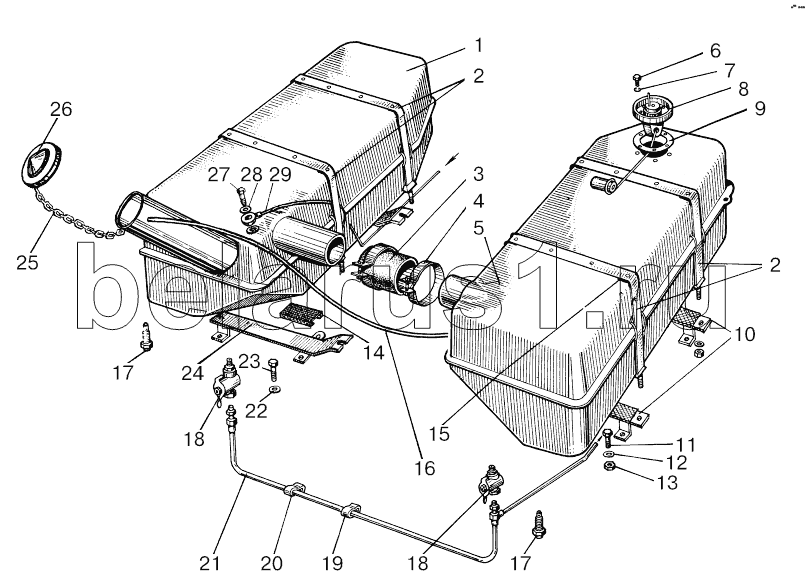
          1        
              
          2        
              
          2        
              
          3        
              
          4        
              
          5        
              
          5а        
              
          6        
              
          7        
              
          8        
              
          8        
              
          9        
              
          10        
              
          11        
              
          12        
              
          13        
              
          14        
              
          15        
              
          16        
              
          17        
              
          17        
              
          18        
              
          18        
              
          19        
              
          20        
              
          21        
              
          22        
              
          23        
              
          24        
              
          25        
              
          26        
              
          27        
              
          28        
              
          29        
          | Позиция на иллюстрации | Заводской номер детали | Название детали | |
|---|---|---|---|
| 70-1101005 | 70-1101005 | Баки | |
| 1 | 70-1101020 | Заказать | Бак | 
| 2 | 70-1101070 | Заказать | Хомут | 
| 3 | 70-1101035-Б | Заказать | Рукав | 
| 4 | xС-66 | Хомут | |
| 5 | 70-1101010 | Бак | |
| 5а | 80-1101010 | Бак правый | |
| 6 | ВМ5x10 | Винт | |
| 7 | 80-1101067 | Шайба | |
| 8 | АР70.3827 | Бензомер | |
| 8 | ДУМП-19 | Заказать | Бензомер | 
| 9 | 200-3806026 | Прокладка | |
| 10 | 80-1101250-Б | Заказать | Кронштейн правый | 
| 11 | М10x25 | Болт | |
| 12 | ШП10 | Шайба | |
| 13 | М10 | Гайка | |
| 14 | 80-1101012-Б | Заказать | Прокладка | 
| 15 | ПР-36-01 | Заказать | Прокладка | 
| 16 | 85-1101002-02 | Трубка | |
| 17 | 50-1101081-Б | Штуцер | |
| 11,113-100 | 11,113-100 | Шарик | |
| 18 | КР-25 | Кран | |
| 19 | 70-1101042 | Скоба | |
| 20 | 50-1111102-01 | Прокладка | |
| 21 | 70-1101345-Б1 | Заказать Заказать Заказать | Трубопровод | 
| 22 | ШП12 | Шайба | |
| 23 | М12x30 | Болт | |
| 24 | 80-1101280-Б | Заказать | Кронштейн левый | 
| 25 | 36-1101070 | Цепочка | |
| 26 | 082-1103010 | Заказать Заказать Заказать Заказать | Пробка | 
| 27 | 36-1104787 | Заказать | Болт | 
| 28 | 36-1104788 | Прокладка | |
| 29 | 70-1104180 | Заказать | Трубка | 
Содержащиеся в справочниках-каталогах запасные части и детали не предлагаются к продаже, а носят исключительно информационный характер