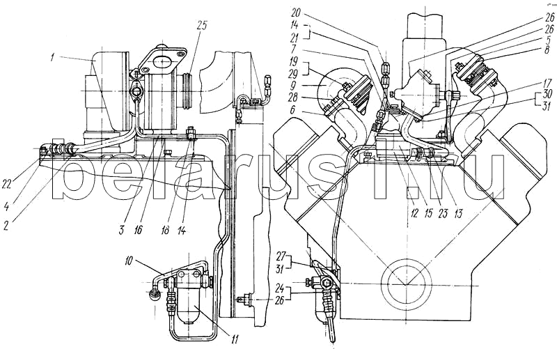
Каталог запасных частей к технике: ХТЗ Т-150. Система масляная и газовая турбокомпрессора
1
2
3
4
5
6
7
8
9
10
11
12
13
14
14
15
16
17
18
19
20
21
22
23
24
25
26
26
26
27
28
29
30
31
31
| Позиция на иллюстрации | Заводской номер детали | Название детали | |
|---|---|---|---|
| 1 | 112.30001.10 | Заказать | Турбокомпрессор ТКР ПН-1 |
| 2 | 60-28002.30 | Трубка маслоподводящая | |
| 3 | 60-28003.00 | Трубка | |
| 4 | 60-28007.00 | Патрубок масло отводящий | |
| 5 | 60-28014.11 | Компенсатор сильфонный | |
| 6 | 60-28016.10 | Прокладка патрубка | |
| 7 | 60-28017.11 | Трубка подвода масла | |
| 8 | 60-28018.01 | Прокладка сильфона | |
| 9 | 60-28022.02 | Патрубок турбины | |
| 10 | 60-28025.11 | Трубка подвода масла | |
| 11 | 17К-28С9А | Фильтр | |
| 12 | А23.02.250 | Хомут стяжной | |
| 13 | Н-66С8 | Хомут стяжной | |
| 14 | 60-15167.00 | Прокладка | |
| 15 | 60-28137.10 | Шланг соединительный | |
| 16 | 60-2813811 | Прокладка | |
| 17 | 60-28143.00 | Прокладка | |
| 18 | 60-28150.20 | Хомут | |
| 19 | 60-28152.00 | Гайка сильфона | |
| 20 | 60-28170.11 | Штуцер | |
| 21 | 60-28171.00 | Хомут | |
| 22 | 17К-2827 | Прокладка | |
| 23 | 17К-2840 | Шланг соединительный | |
| 24 | 17К-2845 | Болт зажимной | |
| 25 | 50-1004063 | Кольцо поршневое компрессионное | |
| 26 | СМД7-1539А | Прокладка | |
| 27 | Болт М8-6gх25.56.016 ГОСТ 7796-70 | Болт М8-6gх25.56.016 ГОСТ 7796-70 | |
| 28 | Болт М10-6gх25.56.016 ГОСТ 7796-70 | Болт М10-6gх25.56.016 ГОСТ 7796-70 | |
| 29 | Болт М12-6gх40.56.016 ГОСТ 7796-70 | Болт М12-6gх40.56.016 ГОСТ 7796-70 | |
| 30 | Гайка М8-6Н.6.016 ГОСТ 2524-70 | Гайка М8-6Н.6.016 ГОСТ 2524-70 | |
| 31 | Шайба 8.65Г.05 ГОСТ 6402-70 | Шайба 8.65Г.05 ГОСТ 6402-70 |
Содержащиеся в справочниках-каталогах запасные части и детали не предлагаются к продаже, а носят исключительно информационный характер